
Что тебе нужно знать
- Патент Apple раскрывает потенциальную технологию преломляющих линз.
- Вращается вокруг призмы под углом 90 градусов к датчику камеры.
- Позволяет размещать датчик дальше от объектива, уменьшая форм-фактор корпуса камеры и iPheon в целом.
Два опубликованных сегодня патента Apple показали, как Apple может использовать преломляющие линзы для улучшения качества изображения в своих камерах, в то же время потенциально уменьшая размер выступа камеры на задней панели телефона и, возможно, толщину устройства в целом.
Как сообщает AppleInsider, сегодня было опубликовано два патента: первый — «Система складных линз с пятью преломляющими линзами», второй — «с тремя преломляющими линзами».
Описание патентов гласит:
Появление небольших мобильных многофункциональных устройств, таких как смартфоны и планшеты или планшеты, привело к необходимости в камерах малого форм-фактора с высоким разрешением для интеграции в устройства. Однако из-за ограничений технологии обычных камер обычные маленькие камеры, используемые в таких устройствах, имеют тенденцию снимать изображения с более низким разрешением и / или с более низким качеством изображения, чем это может быть достигнуто с помощью более крупных камер более высокого качества. Достижение более высокого разрешения с помощью камер небольшого размера обычно требует использования фотодатчика (также называемого датчиком изображения) с небольшим размером пикселя и хорошей компактной системой формирования изображений. Достижения в технологии позволили добиться уменьшения размера пикселя в фотодатчиках. Однако, поскольку фотодатчики становятся более компактными и мощными, спрос на компактную систему формирования изображений с улучшенными характеристиками качества изображения увеличился.
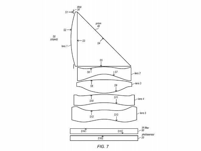
Патент раскрывает конфигурацию из пяти или трех преломляющих линз, которые расположены на 90 градусов от датчика камеры и задней части смартфона, как показано на рисунке ниже.

Таким образом, часть камеры, которую мы все видим, останется в том же положении, однако фактический датчик может быть расположен дальше, потенциально уменьшая глубину системы камеры, чтобы уменьшить ее общую толщину. Как вы заметите из диаграммы, призма будет отражать свет 90 градусов в фотодатчик.
Как отмечает AppleInsider:
Каждый из элементов использует вогнутые и выпуклые элементы для управления светом, но они предлагают две разные цели.
Версия с пятью элементами может предложить эквивалентное фокусное расстояние 35 мм в диапазоне от 50 до 85 мм и с полем зрения от 28 градусов до 41 градуса, что делает его полезным для широкоугольной камеры. Между тем, говорят, что трехэлемент обеспечивает 35-миллиметровый эквивалент диапазона фокусных расстояний 80-200 мм и поле зрения между 17,8 и 28,5 градусами, что позволило бы использовать его в качестве телеобъектива.
Конечно, важно, как всегда, отметить, что патент не означает подтверждение того, что однажды мы увидим эту технологию. Тем не менее, интересно отметить, как Apple может попытаться улучшить свою камеру iPhone, особенно если это улучшение может также уменьшить общий форм-фактор телефона и избавиться от удара камеры!
Оцените статью!



Отправляя сообщение, Вы разрешаете сбор и обработку персональных данных. Политика конфиденциальности.